Страница 1 из 1
"азимутатор"
Добавлено: 05 фев 2021, 17:40
ex UW6LV
Прошу уважаемых компетентных коллег отозваться . Ищу информацию о подобных индикаторах .На снимке часть пеленгационного приемника 42 г немецкого , добыт нашим коллегой . Возможны подобные индикаторы с Лендлиз ъовской аппаратуры . Использовались впоследствии радиолюбителями как индикаторы положения антенны направленной -н

Re: "азимутатор"
Добавлено: 05 фев 2021, 19:17
old_hippie
Не понял вопроса. Ну, на Р-404/414 подобные индикаторы стояли. Пара сельсинов - на пульте и на мачте. На пульте крутишь - мачта вертится. Правда, там угол небольшой - градусов 5, насколько помню... Грубо устанавливается перед подъёмом мачты, остальное - эксплуатационная подстройка.
Re: "азимутатор"
Добавлено: 05 фев 2021, 23:57
Петр Васильевич
old_hippie писал(а): ↑05 фев 2021, 19:17
Не понял вопроса. Ну, на Р-404/414 подобные индикаторы стояли. Пара сельсинов - на пульте и на мачте. На пульте крутишь - мачта вертится. Правда, там угол небольшой - градусов 5, насколько помню... Грубо устанавливается перед подъёмом мачты, остальное - эксплуатационная подстройка.
Не знаю, как на Р-414, а на Р-404, если не изменяет память, параболы вращались электродвигателями с пульта в аппаратной машине. Сельсины использовались как датчики на мачте и как индикаторы на пульте.
Re: "азимутатор"
Добавлено: 06 фев 2021, 00:38
old_hippie
Петр Васильевич писал(а): ↑05 фев 2021, 23:57
параболы вращались электродвигателями с пульта в аппаратной машине.
А я о чём? На мачте - сельсин-мотор, на пульте - сельсин-датчик.
Крутишь ручку на пульте - оно крутится на мачте, стрелкой показывает, куда повернулось...
(Только в части, где мы всё это разворачивали, не работало всё это ни фига. Поэтому пришлось на мачту карабкаться (не мне) и антенну юстировать. К счастью, она не на все 30 метров развёрнута была, наполовину где-то. Потом ещё стадо коров прибежало, как назло, одно из животных решило об оттяжку почесаться...)
Re: "азимутатор"
Добавлено: 06 фев 2021, 00:40
Adriano
old_hippie писал(а): ↑06 фев 2021, 00:38
На мачте - сельсин-мотор, на пульте - сельсин-датчик
Наоборот. На мачте - датчик, на пульте - приёмник.
Re: "азимутатор"
Добавлено: 06 фев 2021, 00:56
old_hippie
Adriano писал(а): ↑06 фев 2021, 00:40
old_hippie писал(а): ↑06 фев 2021, 00:38
На мачте - сельсин-мотор, на пульте - сельсин-датчик
Наоборот. На мачте - датчик, на пульте - приёмник.
Ну как наоборот, если мотор мачту вертит?
На пульте задаётся угол поворота, мотор на мачте этот угол отрабатывает.
Во, нашёл. Гм... Действительно, наоборот. Впрочем, номер детали у них одинаковый.

Re: "азимутатор"
Добавлено: 06 фев 2021, 01:03
Adriano
old_hippie, Так мачту же не сельсин поворачивает! Мощи не хватит

Я так полагаю.
Re: "азимутатор"
Добавлено: 06 фев 2021, 01:09
old_hippie
Adriano писал(а): ↑06 фев 2021, 01:03
old_hippie, Так мачту же не сельсин поворачивает! Мощи не хватит

Я так полагаю.
Ну, да... =)
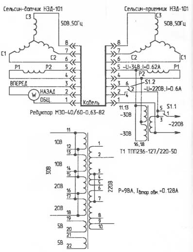
Вон там, на схеме, реверсивный мотор нарисован, слева, под сельсином.
Re: "азимутатор"
Добавлено: 06 фев 2021, 01:49
Adriano
old_hippie, Там вон даже корова мачту не свалила, а уж тем более сельсин

А вообще я с ними в реальности дел не имел (с этим классом электрических машин), но когда-то изучал. Интересная тема.
Re: "азимутатор"
Добавлено: 06 фев 2021, 01:55
old_hippie
Adriano писал(а): ↑06 фев 2021, 01:49
Там вон даже корова мачту не свалила, а уж тем более сельсин
Зато курсантика чуть не стряхнула. Он, бедняга, вцепился в мачту и орёт - уберите животное!!! А нам смешно... Не, отогнали, конечно.
Re: "азимутатор"
Добавлено: 06 фев 2021, 01:57
Adriano
Re: "азимутатор"
Добавлено: 06 фев 2021, 19:14
Петр Васильевич
Реверсивный мотор крутит не мачту, а параболы. Мачта стоит не подвижно.
Re: "азимутатор"
Добавлено: 06 фев 2021, 20:11
old_hippie
Петр Васильевич писал(а): ↑06 фев 2021, 19:14
Реверсивный мотор крутит не мачту, а параболы. Мачта стоит не подвижно.
Это в отсутствие коровы она неподвижна...
Re: "азимутатор"
Добавлено: 06 фев 2021, 20:58
Петр Васильевич
А у Вас какая мачта была сборная или "Сосна"? У нас была сборная из 2-х метровых секций. Самый кайф был её собирать, вовремя натягивать оттяжки, иначе она норовила саморазобраться.
Re: "азимутатор"
Добавлено: 06 фев 2021, 21:05
old_hippie
Петр Васильевич писал(а): ↑06 фев 2021, 20:58
А у Вас какая мачта была сборная или "Сосна"? У нас была сборная из 2-х метровых секций. Самый кайф был её собирать, вовремя натягивать оттяжки, иначе она норовила саморазобраться.
Не, только Берёзы были, и на 404, и на 404М.
Сосну легче развернуть, зато потом спать негде =)
Берёзу из КУНГа вытряхнул - и вот тебе шикарный домик. А Сосна - без КУНГа, прямо из Зила торчит...
Re: "азимутатор"
Добавлено: 06 фев 2021, 21:44
Петр Васильевич
Как то название "Берёза" не отложилось в памяти, а "Сосну" видел только в учебных фильмах на военной кафедре. А КУНГ, после вытряхивания "Берёзы", Запомнился наличием в нём "буржуйки" для обогрева лс.
Re: "азимутатор"
Добавлено: 06 фев 2021, 22:05
old_hippie
Петр Васильевич писал(а): ↑06 фев 2021, 21:44
Как то название "Берёза" не отложилось в памяти
Мачту все Унжа называют... Но то универсальная мачта... А с оголовком под параболы Р404 - то и будет "Берёза"...
А буржуйка тогда нам была без надобности... Днём жара за тридцатник зашкаливала... и только привозная вода, две фляжки на день, не считая положенного приёма пищи...
Я с тех пор от жажды не страдаю, научился не обращать внимания.
Тогда с учебного центра почти всю воду с отопления слили =)
Re: "азимутатор"
Добавлено: 07 фев 2021, 17:23
ex UW6LV
old_hippie писал(а): ↑05 фев 2021, 19:17
Не понял вопроса. Ну, на Р-404/414 подобные индикаторы стояли.
Не нашел изображение чего-то подобного . Подскажите ссылку, пожалуйста.
На пеленгаторе с фото 15см диаметр круга . На похожем ( по воспоминаниям детства - середины 70-х) - кажется больше .
Re: "азимутатор"
Добавлено: 07 фев 2021, 17:32
old_hippie
ex UW6LV писал(а): ↑07 фев 2021, 17:23
old_hippie писал(а): ↑05 фев 2021, 19:17
Не понял вопроса. Ну, на Р-404/414 подобные индикаторы стояли.
Не нашел изображение чего-то подобного . Подскажите ссылку, пожалуйста.
Я тоже не нашёл изображения...
Вот фото аппаратной, за стойками НЧ окончаний, слева, торчит стол. Вот над ним и расположен пульт управления антеннами, с двумя циферблатами.

Re: "азимутатор"
Добавлено: 07 фев 2021, 18:37
old_hippie
Во, в виртуальном туре по Музею артиллерии и войск связи нашёл-таки.
Вот так выглядит пульт управления АМУ Р-404.
Ближе не придвинуть...
Этот зал.